Page loading
(videos)

Authors

Chronological

Des barbares...

Biblioteratology

Entertainments

Fin-de-Siècle

Fourneau and Fornax

Typography
This article is available in the standard RSS format for publication on your website :
de Louis Dufay

Louis Dufay
Pour apprécier ce procédé d’impression, il faut aimer les papillons. Du moins, c’est en observant avec attention ces charmants lépidoptères que Louis Dufay (1874-1936), photographe et savant franc-comtois eut l’idée de son procédé Héliophore. Il constata que les ailes de certains papillons changeaient de couleur en fonction des angles d’éclairage et d’observation. C’est alors qu’il eut l’idée de créer un procédé qui permettrait de produire des images dont l’aspect coloré serait changeant en fonction de cet angle d’observation.

Papillon Morpho
Le procédé Héliophore est à la fois simple et compliqué. Simple dans son principe et compliqué dans sa réalisation. Il consiste à réaliser, à la surface d’un matériau plan et réfléchissant — recouvert d’une fine couche métallique par exemple — des irrégularités de surface à la manière des disques microsillons (les fameux vinyls qui reviennent à la mode). Les mini-vallées et mini-montagnes ainsi créées vont réfléchir la lumière différemment en fonction de l’angle qu’elles ont par rapport à la source lumineuse. La comparaison avec les microsillons s’arrête là car la technologie du disque doit obligatoirement produire une forme de fine spirale qui part de l’extérieur pour aller vers l’intérieur du cercle dans lequel elle s’inscrit, alors que la plus grande liberté de figures est permise avec le procédé Héliophore, que ces figures soient régulières ou irrégulières. Le principe fondamental du procédé est de créer des petites vallées et des petites montagnes au flancs rectilignes qui vont réfléchir la lumière.
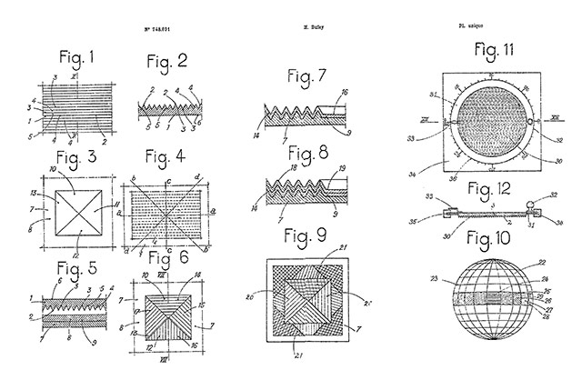
C’est le 31 mars 1932 que Louis Dufay dépose le brevet de ce qui ne s’appelle pas encore Héliophore mais « Procédé de décoration d’objets et objets obtenus à l’aide de ce procédé ». Le brevet lui sera accordé le 25 avril 1933.
La planche qui accompagne le brevet décrit quelques-unes des formes possibles liées à son procédé.

Figures du brevet
Les creux et reliefs sont obtenus, sur la surface métallisée qui va supporter le procédé, par pressage avec une matrice que Dufay nomme « négatif ». Les reliefs du négatif deviendront les creux de la surface et inversement. Ce sont les variations d’orientation des structures pressées qui vont créer les changements de couleur ou de luminosité de la surface ainsi traitée par pressage. Cette surface peut, avant pressage, être imprimée à l’aide de couleurs transparentes ou laissée telle.
Quelques exemples, pour illustrer le propos. Des images dont le goût est laissé à l’appréciation du regardeur :

Crucifixion

Personnages enfantins
Les pochettes de disques de la collection Prospective 21e siècle chez Philips. Une collection consacrée essentiellement à la musique concrète :

Prospective 21e siècle

Prospective 21e siècle
Les couvertures de la collection de romans de science-fiction Ailleurs et Demain chez Robert Laffont :

Ailleurs et Demain

Ailleurs et Demain
Anecdote : Gérard Klein, le directeur de cette collection, lors de son unique passage dans l’atelier parisien de Fornax voici quelques années, a confié au rédacteur de ces lignes qu’il s’était renseigné sur le procédé Héliophore et sur Louis Dufay, et qu’il avait imposé à sa maison d’édition des couvertures ainsi réalisées, toutes différentes.
Le brevet de Louis Dufay étant tombé dans le domaine public depuis 1953, le procédé Héliophore, sous son nom ou sous un autre, a été pratiqué par nombre d’imprimeries, en France ou ailleurs. Il a été très utilisé pour produire en quantité des petites images à encadrer, d’une esthétique le plus souvent fort douteuse (voir plus haut). On en trouve régulièrement dans les brocantes, à vil prix, ou même données. On peut supposer que ce qui était digne d’être accroché au mur pour une génération a provoqué un sentiment de rejet pour la génération suivante.
Nobody gave a comment yet.
Be the first to do so!
L’homme au coin
10 pages,
format 8,5 x 8,5 cm.
tirage à environ 30 exemplaires en typographie au plomb.
Thomas Braun
des fromages
8 pages,
format 11,2 x 9 cm.
tirage à 131 exemplaires en typographie.
CLS
Un volumen,
79 cm de long, 17,5 cm de haut.
tirage à 10 exemplaires en linogravure.
Marie-Rose de France
26 petits textes en proses poétique. Vignettes de CLS.
tirage à 120 exemplaires en typographie au plomb.
... for those who are too lazy to seek.
12061291 visitors
58 visitors online
Fornax éditeur 18, route de Coizard, F51230 Bannes – France